Logitech Rally Camera Streamline Kit Setup Guide

Getting Started

ATTENTION: When mounting Rally Camera Streamline Kit to a wall or inverted mount, please make sure the power is disconnected from the Control Side Box while connecting the camera with the attached base to the category cable. Failure to do so may result in permanent damage to Rally Camera. 

Table of Contents

Connecting Rally Camera to the Camera Side Base

NOTE: If you have purchased the Rally Camera Extension Kit to use with an existing Rally Camera or purchased one separately, you will need to remove the rubber plug from the bottom of your Rally Camera before connecting the Camera Side Base.

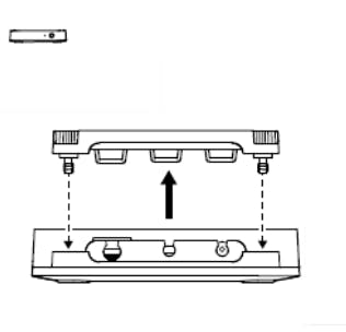
  1. Place the Camera Side Base on a flat surface and connect the internal USB-C cable to the USB-C port on the bottom of Rally Camera

    1. Press the cable into the routing channel, ensuring the pegs are properly aligned, and attach the Rally Camera to the base

  2. Hold both components together and flip the unit over

  3. Use a Phillips screwdriver to tighten the ¼-20 screw, securing the base to the camera.


Note: If you intend to mount to a tripod, please insert the ⅝-27 to ¼-20 included adapter after securing the base to the camera.

Mounting Rally Camera Streamline Kit

You have two mounting choices for Rally Streamline Kit:

Wall mount (this mounting method applies to mounting the camera to a 2-Gang box or directly to a wall surface)

  1. To install the Wall Mount - attach the Twist-to-Lock Mount Plate to the base using the four provided M4 screws, these should be inserted from the Twist-to-Lock Mount Plate Side. Make sure the camera icon and arrow on the Twist-to-Lock Mount Plate face the desired direction

    1. Secure the mount to the wall with the included hardware or four #6-32 - 1/34” removable screw anchors

  2. Connect a Cat5e (or better) cable to the camera’s RJ45 port.

  3. Align the camera base arrow with the mount plate arrow and rotate counterclockwise to lock.

  4. Cover the mount plate with the magnetic cover, then connect power to the Control Side Box.

NTP drop-down pole

  1. To install the 1.5in NPT Adapter, secure it to your 1.5in NPT drop-down pole, and insert the set screw to secure the NPT adapter plate in place. 

  2. Attach the Twist-to-Lock Mount Plate to the adapter with the provided M4 screws, these should be inserted from the Twist-to-Lock Mount Plate side. Make sure the camera icon and arrow on the Twist-to-Lock Mount Plate face the desired direction.

  3. Connect a Cat5e (or better) cable to the camera’s RJ45 port.

  4. Align the camera base arrow with the mount plate arrow, and rotate counterclockwise to lock the camera in place.

Connecting to the Control Side Box

  1. Connect a Cat5e (or better) cable to the RJ45 connector on the bottom of the Camera Side Base.

  2. On the Control Side Box, remove the cable clamp bar by loosening the thumbscrews.

  3. Attach the other end of the cable to the RJ45 connector on the Control Side Box, then connect the power and USB-C cable to their respective ports.

  4. Reattach and tighten the thumbscrews on the cable clamp bar continuing to ensure cables are seated in the clamp's channels.

  5. Connect the USB-C cable to a computer or laptop.

  6. When the Control Side Box is powered and connected, a green LED will flash on the front of the Control Side Box and the back of the Camera Side Base.

Preset Button Setup

Pairing the Preset Buttons to Rally Camera

Preparation

  1. Remove the battery pull tabs on each of your Preset Buttons and make sure the switch on the back of the button is in the unlock position.  

  2. Ensure Rally Camera is on and connected to a computer before you continue.

There are two ways to activate pairing mode on your Rally Camera:

Using the remote

Press the following button sequence (within 8 seconds after starting): 

Home, Zoom Out, Zoom Out, Zoom In, Zoom Out, Home

If successful, a blue LED on the front of the Rally Camera will begin flashing.

Using the button on the back of Rally Camera

The second method is to press and hold the button on the back of the Rally Camera for 5 seconds or until the LED on the front flashes blue.

Once pairing mode has been activated, release the button. You can now pair the Preset Button.

  1. Press the Prest Button for 10 seconds or until seeing the visible indicator that pairing has completed.

  2. Pairing is complete when the button LED flashes blue and Rally Camera led stops flashing. 

  3. Repeat these steps until all Preset Buttons are paired to the Rally Camera

NOTE: The Preset Button LED may turn white or flash yellow during the pairing process. Please ignore this and continue to press and hold the button for 10 seconds (or until pairing is completed). 

NOTE: If the button is not mounted, or the button mount is not attached, you may need to press the button by squeezing it, with your fingers on the back of the button and thumb pressing the front to fully engage the button. 

How to Set Up and Save Presets

  1. Unlock the switch on the back of the button.

  2. With the camera mounted and the Control Side Box powered on and connected, open a camera app, video conferencing software, or Logitech Sync to connect to the Rally Camera. 

  3. Use the Remote Control to pan, tilt, and zoom to the desired scene.

  4. Hold the Preset Button for 3 seconds until the LED flashes white. Release the button when the LED flashes white to avoid entering pairing mode.

  5. Lock the switch on the back of the button to prevent accidental resets of the preset position.

Mounting the Preset Button

To enhance user experience, we recommend positioning or mounting the Preset Buttons near the area shown in the saved preset scene. 

  1. You can mount the mounting plates using the included screws or with small adhesive strips (not included). 

  2. After securing the mounting plate, align the button and rotate it clockwise to lock it in place.

  3.  Press the button to confirm the LED lights up and the preset position is correctly recalled.


    NOTE: We recommend using small adhesive strips with a maximum size of 46 x 16 x 16 mm (1.8” x 0.63” x 0.63”).

AI translated ⓘ
This content was translated by AI. Accuracy may vary.
Report an issue here.
Menu