Rally Board 65 Setup - Unboxing and Tabletop Setup

This article includes unboxing instructions and general setup steps for Rally Board 65 for tabletop or credenza placement.

If you plan to set up your Rally Board 65 with a Logitech Rally Board Cart, please follow the steps in the Rally Board 65 Setup - Rally Board 65 Cart Setup post.

Table of Contents

Unboxing

  • Rally Board 65 packaging is a standard sleeve style package with four locking clips.

  • IMPORTANT: No blades or box cutter should be used in opening the package

Package Contents

  • Main device (leave in place for assembly)

  • Power cord

  • Tabletop legs (2)

  • Stylus (2)

  • Accessories box

    • Screws

    • Hex key

    • Rear cable hook (optional)

    • Rear VESA 100 accessory mount (optional)

Preparing for SetupĀ 

  • Remove the packing material, leaving the main device held in place

  • Tear and fold down the bottom cardboard flaps

  • Tear and remove the bag over the main device

NOTE: Keeping the display in the packaging during setup is highly recommended as it will provide support while you attach the legs.

Orientation

  • Rally Board 65 may be placed in either of two orientations based on placement and use:

    • Camera high position is typically best for standing use, with more interactions with the touch screen

    • Camera low position is typically best for seated use, with more video collaborationĀ 

Tabletop / Credenza

Camera High

  1. Attach the legs as shown using the included M6 screws and hex key tool

  2. With another person:

    1. Lift the assembled device

    2. Flip the device and place on a flat surface

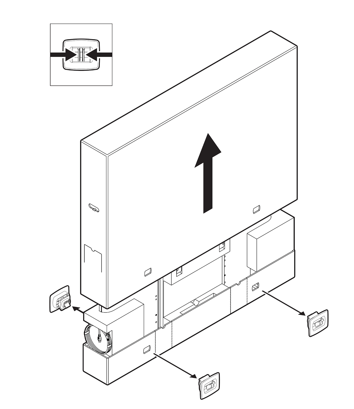
  3. Remove the back cover

  4. Connect cables

    1. Connect power cable

    2. Connect an ethernet cable if you are setting up a wired connection (ethernet cable not included)

  5. Cables may optionally be routed in the table legs as shown

  6. Hex key may optionally be stored in the connector / backplane area

  7. Replace the back cover

Camera Low

  1. Attach the legs as shown using the included M6 screws and hex key tool

  2. With another person:

    1. Lift the assembled device

    2. Flip the device and place on a flat surface

  3. Remove the back cover

  4. Connect cables

    1. Connect power cable

    2. Connect an ethernet cable if you are setting up a wired connection (ethernet cable not included)

  5. Cables may optionally be routed in the table legs as shown

    1. To secure the routed cables, move the internal cable clips down (located in the table legs)

  6. Hex key may optionally be stored in the connector / backplane area

  7. Replace the back cover

Stylus Placement and Spare Tip (included)

  • The two stylus may be placed magnetically on each side of Rally Board 65

  • Each stylus contains a spare tip stored inside the stylus as shown

AI translated ā“˜
This content was translated by AI. Accuracy may vary.
Report an issue here.
Menu